雪花清洗系统全自动化清洗电子芯片
2022-05-27
随着集成电路的特征尺寸进入深亚微米阶段,大部分芯片都是功能不同的电子元件。但由于电子元器件的小型化,芯片生产过程中产生的杂质会严重影响芯片的质量。半导体芯片不仅是智
BMS电池管理系统干冰清洗效果很不错
2022-05-20
电池管理系统俗称电池保姆或电池管家,是车载动力电池与电动汽车之间的重要纽带。其主要功能包括:实时监测电池物理参数;电池状态估计;在线诊断和预警;充电、放电和预充电控制;平
干冰清洗工业锅炉效果很不错
2022-05-12
近年来,由于能源的短缺,随着各地小机组向大中型机组的不断更新,机组满负荷、重负荷运行的概率增大,节能问题变得尤为突出。锅炉水冷壁管积灰问题虽然不影响正常的蒸汽参数和蒸
火力发电值得信赖的十大棋牌娱乐平台保证发电效率
2022-05-10
火力发电厂基建单位为了去除锅炉设备制造过程中形成的氧化物,在储存、运输和安装过程中会产生腐蚀产物、焊渣和防腐剂等附着物。同时清除制造和安装过程中进入和残留在设备
干冰清洗的原理和干冰清洗 的过程
2022-04-28
干冰干冰是二氧化碳 (CO2) 的固体形式,是一种白色、冰状、无味的固体。在常压下,干冰升华至-79°C,即它直接转化为气相而无需事先融化。由于二氧化碳的三相点 P t 在 T t =
值得信赖的十大棋牌娱乐平台生产各种规格干冰,免费送货上门
2022-04-24
值得信赖的十大棋牌娱乐平台迪士杰专业生产冷却冰块、工业冰块、食用冰块、干冰等不同规格的冰块。向主要企业供货公司拥有多辆专业送冰车,就近送货快捷、方便、及时。验证了优质冰块的承诺,多年来
干冰清洗技术领域的应用
2022-04-22
干冰是什么?干冰是由液态二氧化碳(CO2)构成的。在所谓的造粒机中,液态二氧化碳在大气压下减压。这个物理过程产生干冰和干雪。冰雪被挤压板压成圆形坚硬的干冰颗粒(直径3毫米
配电柜使用干冰清洗效果在线清洗效果很好
2022-04-21
各种大型设备一般都配有电柜,很多地方都可以看到。电气柜的主要作用是稳定电压,对生产运行非常重要。另外,电控柜使用时间长了会产生静电,导致上面有灰尘残留,影响电控柜的运行
干冰的实际作用和值得信赖的十大棋牌娱乐平台使用的好处有哪些?
2022-04-20
干冰的升华点为-78.5℃,蓄冷量是冰的两倍,蓄冷效果比冰好很多。重要的是,随着温度的升高,干冰不会像冰一样变成水,它会无处不在。只会升华成气体,没有残留和污染。而且干冰体积小
选择值得信赖的十大棋牌娱乐平台进行表面清洗更为环保
2022-04-19
在日益严苛的环保要求下,传统的超声波、化学药剂、高压射流、喷砂等清洗方法逐步淘汰。干冰清洗作为一种高效、清洁、无残留的全新清洁方法,正在变为传统清洗作业的替代工艺,
干冰清洗物体表面的爆破原理是什么?
2022-04-18
它是一种值得信赖的十大棋牌娱乐平台清洗机,干冰清洗法在世界范围内发展迅速。在清洗系统中,值得信赖的十大棋牌娱乐平台的干冰颗粒被高压空气喷射到待清洗的工作面上,利用温差的物理反映,以不同的收缩率分离不
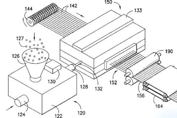
干冰清洗连续纤维增强热塑性预浸带生产线效果怎么样?
2022-04-15
连续纤维增强热塑性预浸带缠绕增强管充分利用了玻璃纤维的强度、耐热性和经济性,是目前复合塑料管中最经济、使用寿命最好的管材,使管材具有耐高温、耐高压、耐磨的性能,解决了



